6.5. Exercises#
In un canale piano, di lunghezza e apertura infinita, orizzontale, di altezza \(H=1.51\ mm\), delimitato da una parete inferiore fissa e da una parete superiore mobile con velocità orizzontale, costante e positiva \(U=0.31\ m/s\). scorre acqua in condizioni standard. Per quale valore del gradiente di pressione \(G_P = -\partial P/\partial x\) la portata nel canale risulta nulla? \newline Si trascurino le forze di volume.

Una corrente di Poiseuille di acqua (\(\rho = 1000 / kg/m^3\), \(\mu = 10^{-3} \ kg/(m s)\)) scorre in un canale di altezza \(H = 1 \ cm\). Un manometro misura la differenza di pressione tra le sezioni in \(x_A = 1.0 \ m\) e \(x_B= 2.0 \ m\). Determinare:
il gradiente di pressione all’interno del condotto, conoscendo la densità del liquido barometrico \(\bar{\rho} = 1200 \ kg/m^3\) e la differenza di quote \(h = 5 \ mm\);
la velocità massima all’interno del canale;
la risultante \(\mathbf{R}\) delle forze esercitata dal fluido sul tratto di parete superiore compreso tra A e B, sapendo che sulla sezione \(x = 0 \ m\) la pressione vale \(p_0 = 10^5 \ Pa\). Qual è la relazione tra \(R_x\) e \(p_A - p_B\)? Commento.

Si consideri una corrente d’acqua a pelo libero, laminare e stazionaria, che scorre su una parete piana di lunghezza e apertura infinita inclinata di un angolo \(\alpha\) rispetto all’orizzontale. Sul pelo libero la pressione è uniforme e uguale a \(P_a\). Lo sforzo tangenziale fra acqua e aria viene considerato nullo.
Si calcoli il profilo di velocità nello strato di acqua e il campo di pressione.

Si consideri una corrente d’acqua a pelo libero, laminare e stazionaria, che scorre su una parete verticale piana di lunghezza e apertura infinita. Si ipotizzi che la pressione atmosferica che agisce sul pelo libero sia uniforme. Si ipotizzi inoltre che lo sforzo tangenziale fra acqua e aria in corrispondenza del pelo libero sia nullo.
Assegnata la portata in massa per unità di apertura \(\overline{Q}=0.5\ kg/(ms)\), determinare
lo spessore \(h\) della corrente d’acqua;
lo sforzo tangenziale a parete;
la velocit`a in corrispondenza del pelo libero;
la velocit`a media e il numero di Reynolds basato su tale velocit`a media e sullo spessore della corrente.
Si sostituisca poi al pelo libero una parete solida. Si determini quale dovrebbe essere la velocit`a di tale parete per ottenere una portata nulla.
Dati: \(\overline{\rho}= 999\ kg/m^3\), \(\overline{\mu}= 1.15\ 10^{-3} kg/(ms)\).
(\(h=5.61\, 10^{-4}\ m\), \(\tau = 5.494\ Pa\), \(u(h)=1.339\ m/s\),
Un manometro a mercurio (\(\rho_{hg} = 13610 \ kg/m^3\)) collega due prese di pressione posizionate a una distanza di \(l = 2 \ m\) l’una dall’altra lungo un tubo orizzontale di diametro \(2R = 5 \ cm\) in cui scorre un fluido con densità \(\rho_{f} = 950 \ kg/m^3\). Se la differenza fra le altezze dei peli liberi del liquido manometrico nelle due colonne vale \(\Delta h = 4 \ cm\) e la portata volumetrica che scorre nel tubo è \(Q= 6\ m^3/s\), quanto valgono la viscosità \(\mu\) del fluido e lo sforzo a parete \(\tau_w\)?
(\(\mu = 6.36\,10^{-5} \ kg/(m\, s)\), \(\tau_w = 31.05\, \mathbf{z}\ N/m^2\))

Si consideri la corrente piana fra due cilindri coassiali rotanti. Si misura la velocit`a in due punti posti rispettivamente a \(1/4\) e \(3/4\) del gap fra i due cilindri: \(u_{\theta,1/4} = 0.5\ m/s\), \(u_{\theta,3/4} = 0.8\ m/s\). Si determini la velocit`a di rotazione dei due cilindri nonch’e la pressione in corrispondenza del cilindro interno sapendo che la pressione in corrispondenza del cilindro esterno vale \(5\ Pa\), che la densit`a del fluido `e pari a \(1.225\ kg/m^3\), che il diametro del cilindro interno `e \(d =2 R_1=0.1 \ m\) e che il diametro del cilindro esterno `e \(D = 2 R_2 = 0.16 \ m\).
(\(\Omega_{1}=6.663\ s^{-1}\), \(\Omega_{2}=11.743\ s^{-1}\) \newline \(P(r) = P_2 - \rho \left[ \dfrac{1}{2} A^2 (R_2^2 - r^2) + 2 A B ln \dfrac{R_2}{r} - \dfrac{1}{2}B^2 \left( \dfrac{1}{R^2} - \dfrac{1}{r^2} \right) \right]\), \newline con \(u_{\theta}(r) = A r + B/r\)\ . )

Si consideri la corrente piana di un fluido di densità \(\rho\) fra due cilindri coassiali di raggio \(R_1\) e \(R_2\). Il cilindro esterno è fermo, mentre quello interno è messo in rotazione da un motore con curva caratteristica \(C_{disp}(\Omega) = \alpha - \beta \Omega\). Si determini il punto di equilibrio del sistema (\(\Omega\) costante).

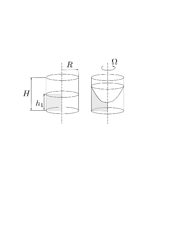
Un contenitore cilindrico (raggio \(R\), altezza \(H\)) è riempito fino ad una quota \(h_1 =H/2\) di un liquido di densità \(\rho\). Il contenitore è messo poi in rotazione con velocità angolare costante \(\Omega\). Una volta esaurito il transitorio, viene chiesto di trovare:
la forma che assume il liquido all’interno del contenitore;
la velocità \(\Omega_{max}\) alla quale il liquido inizia a uscire dal contenitore;
il campo di pressione quando il corpo ruota con velocità angolare \(\Omega_{max}\).
(R: \(z_{free}(r) = \dfrac{\Omega^2 r^2}{2 g} - \dfrac{\Omega^2 R^2}{4 g} + \dfrac{H}{2}\) \newline \hspace{0.5cm} \(\Omega_{max} = \sqrt{\dfrac{2 g H}{R^2}} \) \newline \hspace{0.5cm} \(P(r) = \dots\))
